-
Manual del propietario
- Clientes
- Nuevo Qashqai Nissan Connect
- Mantenimiento y servicio
- Asistencia seguro y garantía
- Accesorios y equipos
- Ofertas Especiales
- Noticias de campañas
- Promesa Cliente
- YOU+
- Infoentretenimiento en tu coche
- Aplicaciones NissanConnect: Compatibilidad de vehículos
- Proceso Emparejamiento
- Página de mantenimiento
Nissan Qashqai con e-POWER (español) 2024 Manuales del propietario
7.4.1. Funcionamiento del sistema MOD (modelos sin vista en 3D)
El sistema MOD se activa automáticamente bajo las siguientes condiciones:
Cuando el sistema del cambio está en la posición R (marcha atrás).
Cuando se pulsa el botón <CAMERA> para activar el sistema Intelligent Around View Monitor (Cámara inteligente de visión 360) en la pantalla.
Cuando la velocidad del vehículo baja por debajo de aproximadamente 8 km/h (5 mph).
El sistema MOD funciona en las siguientes condiciones cuando se visualiza la vista de la cámara:
Cuando el sistema del cambio está en la posición P (estacionamiento) o N (punto muerto) y el vehículo está parado, el sistema MOD detecta los objetos en movimiento en la vista aérea. El sistema MOD no funcionará si cualquier puerta está abierta. Si los retrovisores exteriores están plegados, es posible que el MOD no funcione correctamente.
Cuando el sistema del cambio está en una posición de conducción de avance y la velocidad del vehículo es inferior a 8 km/h (5 mph) aproximadamente, el sistema MOD detecta objetos en movimiento en la vista delantera o en la vista delantera amplia.
Cuando el sistema del cambio está en la posición R (marcha atrás) y la velocidad del vehículo es inferior a 8 km/h (5 mph) aproximadamente, el sistema MOD detecta objetos en movimiento en la vista trasera y en la vista trasera amplia. El sistema MOD no funcionará si el portón trasero está abierto.
El sistema MOD no detecta objetos en movimiento en la vista lateral delantera. El icono MOD no se visualiza en la pantalla con esta vista.
Cuando el sistema MOD detecta un objeto en movimiento cerca del vehículo, el borde naranja se visualiza en la vista cuando se detecta un objeto y suena una señal acústica una vez. Mientras el sistema MOD continúa detectando objetos en movimiento, el borde naranja continúa visualizándose.

Mientras la señal acústica del RCTA (según modelo) suena, el sistema MOD no se oye.




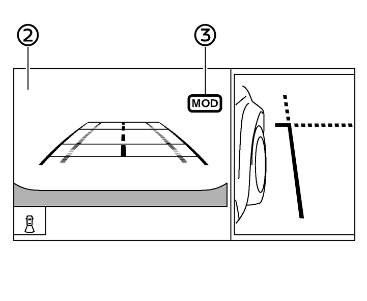
En la vista aérea, el borde naranja (1) se visualiza en cada imagen de la cámara (delantera, trasera, derecha, izquierda), según donde se detecten los objetos en movimiento.
El borde naranja (2) se visualiza en la vista delantera, vista trasera, vista delantera amplia y vista trasera amplia.
Se visualiza un icono MOD verde (3) en la vista si el sistema MOD está en funcionamiento. Se visualiza un icono MOD gris (3) en la vista si el sistema MOD no está en funcionamiento.
Si se desactiva el sistema MOD, el icono MOD (3) no se visualiza.