Nissan Qashqai con e-POWER (español) 2024 Manuales del propietario
7.3.1.2. Vistas disponibles (modelos con vista en 3D)

Las líneas guía de distancia y las líneas de anchura del vehículo deben usarse como referencia solamente cuando el vehículo se encuentra estacionado en una superficie plana pavimentada. La distancia aparente que se visualiza en el monitor puede diferir de la distancia real entre el vehículo y los objetos representados.
Utilice las líneas visualizadas y la vista aérea como referencia. Las líneas y la vista aérea se ven considerablemente afectadas por el número de ocupantes, el nivel de combustible, la posición del vehículo, las condiciones de la carretera y el tipo de carretera.
Si los neumáticos se sustituyen por unos neumáticos de tamaño diferente, es posible que las líneas de trayecto previsto y la vista aérea no se visualicen correctamente.
Al conducir en una pendiente ascendente, los objetos que se visualizan en el monitor están más lejos de lo que parece. Al conducir en una pendiente descendente, los objetos que se visualizan en el monitor están más cerca de lo que parece.
En la visión trasera, los objetos aparecerán en una posición visualmente opuesta comparados con cuando se mira a través del retrovisor interior y retrovisores exteriores.
Utilice los retrovisores o mire hacia fuera para calcular las distancias entre el vehículo y otros objetos.
La distancia entre los objetos que se visualizan en la vista trasera es diferente de la distancia real, ya que se utiliza una lente gran angular.
Si conduce sobre una carretera resbaladiza o con nieve, es posible que haya diferencias entre la línea de trayecto previsto y la línea de trayecto real.
Las líneas de anchura y trayecto previsto del vehículo son más amplias que la anchura y trayecto reales.
Vista delantera y trasera


Las líneas guía, que indican la anchura del vehículo aproximada y las distancias con otros objetos con respecto a la línea de carrocería del vehículo (A), se visualizan en el monitor.
Líneas guía de anchura del vehículo (1):
Indica la anchura del vehículo.
Líneas de trayecto previsto (2):
Indican el trayecto previsto al conducir el vehículo. Las líneas de trayecto previsto se moverán dependiendo de cuánto se gire el volante de dirección.
Líneas guía de distancia:
Indican las distancias desde la carrocería del vehículo.
Línea roja (3): aprox. 0,5 m (1,5 pies)
Línea azul (4): aprox. 1 m (3 pies)
Línea azul (5): aprox. 2 m (7 pies)
Línea azul (6): aprox. 3 m (10 pies)
La vista delantera no se visualiza cuando la velocidad del vehículo es superior a 20 km/h (12 mph).
Cuando la velocidad supera los 20 km/h (12 mph), la pantalla cambia a la pantalla de navegación (según modelo) y la visualización queda limitada.
Vista aérea

La vista aérea muestra el vehículo desde arriba, lo cual ayuda a confirmar su posición y el trayecto previsto hasta la plaza de estacionamiento.
El icono del vehículo (1) muestra la posición del vehículo. Tenga en cuenta que la distancia entre los objetos visualizados en la vista aérea difiere de la distancia real.
Las líneas de trayecto previsto (2) indican el trayecto previsto al conducir el vehículo.
Los marcadores ámbar (3) se muestran cuando el sonar se apaga o el sonar no está disponible en la esquina.

Los objetos mostrados en la vista aérea aparecerán más lejos de lo que están en realidad.
Los objetos altos, tales como un bordillo o un vehículo, pueden estar no alineados o no mostrarse en la línea de unión de las vistas.
Los objetos que están sobre la cámara no se visualizan.
La vista aérea puede estar no alineada cuando cambia la posición de la cámara.
Una línea en el suelo puede no estar alineada y no verse recta en la línea de unión de las vistas. Las líneas pueden parecer estar menos alineadas a medida que aumenta la distancia con el vehículo.
Guardar ubicación (según modelo)
Puede guardar los puntos en los que aparecerá automáticamente la vista delantera amplia cuando el vehículo se encuentre a aproximadamente 30 metros (110 pies) de una ubicación guardada. Esto puede ser útil cuando el conductor tiene que comprobar los puntos muertos en cruces de carretera con poca visibilidad, por ejemplo.
Para guardar una ubicación, pulse el icono Guardar ubicación
(según modelo).
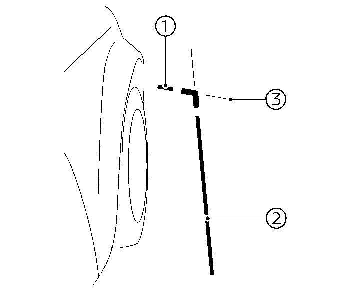
Vista lateral delantera

Líneas guía:
Las líneas guía que indican la anchura aproximada y el extremo delantero del vehículo se visualizan en el monitor.
La línea delantera del vehículo (1) muestra la parte delantera del vehículo.
La línea lateral del vehículo (2) muestra la anchura del vehículo incluyendo los retrovisores exteriores.
Las extensiones (3) de las líneas delantera (1) y lateral (2) se muestran con una línea azul.

El indicador de dirección puede parecerse a la línea lateral del vehículo. Esto no es una avería.
Vista delantera/trasera amplia


Mientras que la vista delantera/trasera muestra una vista normal en las pantallas divididas, la vista delantera/trasera amplia muestra una zona más amplia en toda la pantalla y permite controlar los puntos ciegos del lado derecho e izquierdo.
Líneas guía de anchura del vehículo (1):
Indica la anchura aproximada del vehículo.
Líneas de trayecto previsto (2):
Indican el trayecto previsto al conducir el vehículo. Las líneas de trayecto previsto se moverán dependiendo de cuánto se gire el volante de dirección.
Líneas guía de distancia:
Indican las distancias desde la carrocería del vehículo.
Línea roja (3): aprox. 0,5 m (1,5 pies)
Línea azul (4): aprox. 1 m (3 pies)
Línea azul (5): aprox. 2 m (7 pies)
Línea azul (6): aprox. 3 m (10 pies)
La vista delantera amplia no se visualiza cuando la velocidad del vehículo es superior a 20 km/h (12 mph).
Cuando la velocidad supera los 20 km/h (12 mph), la pantalla cambia a la pantalla de navegación (según modelo) y la visualización queda limitada.

Cuando se visualiza la vista delantera amplia en el monitor y el volante de dirección se gira 90 grados o menos desde la posición recta, se visualizan las líneas (6) derecha e izquierda de trayecto previsto. Cuando el volante de dirección se gira 90 grados o más, se visualiza una línea de trayecto previsto solamente en el lado opuesto al giro.
Vista trasera ampliada (según modelo)
La vista trasera ampliada muestra una parte ampliada del suelo en la parte trasera. Esto proporciona una vista trasera clara limitada con la línea central predictiva, lo cual puede ser útil al enganchar un remolque en el vehículo, por ejemplo.
Para desactivar o activar la vista trasera ampliada, cuando se muestra la pantalla de la cámara toque el icono de vista trasera ampliada
.
Vista de capó invisible (según modelo)

La vista de capó invisible permite al usuario ver la superficie de la carretera debajo de la carrocería vehículo virtualmente transparente. Puede ser útil para alinear las ruedas delanteras con los raíles de un lavado de coches automático o para evitar golpear el lateral del vehículo contra las aceras al conducir a baja velocidad, por ejemplo.
Pulse el icono de la vista de capó invisible (8) para activar la vista de capó invisible. La primera imagen se mostrará después de que el vehículo se haya movido aproximadamente 3 metros (10 pies). Para desactivar la vista de capó invisible, seleccione otra vista.

La imagen de la superficie de la carretera debajo de la carrocería se compone a partir de las imágenes de la cámara delantera y no muestra la superficie real de la carretera debajo de la carrocería del vehículo.
Líneas de trayecto previsto (1):
Indican el trayecto previsto al conducir el vehículo. Las líneas de trayecto previsto se moverán dependiendo de cuánto se gire el volante de dirección. Las líneas de trayecto previsto en la vista trasera no se visualizarán cuando el volante esté en la posición recta.
Líneas guía de distancia (2) - (5):
Líneas guía de distancia:
Indican las distancias desde la carrocería del vehículo.
Línea roja (2): aprox. 0,5 m (1,5 pies)
Línea azul (3): aprox. 1 m (3 pies)
Línea azul (4): aprox. 2 m (7 pies)
Línea azul (5): aprox. 3 m (10 pies)
Contorno del vehículo (6):
Indica el contorno del vehículo de la parte delantera.
Líneas de zona de rueda (7):
Indica los contornos de las ruedas de la parte delantera.
Icono de vista de capó invisible (8):
Pulse este icono para activar la vista de capó invisible.
La vista de capó invisible no se visualiza cuando la velocidad del vehículo es superior a 20 km/h (12 mph).
Vista en 3D (según modelo)

La vista en 3D muestra una vista de 360 grados alrededor del vehículo, lo cual ayuda a confirmar la posición del vehículo y el trayecto previsto a la plaza de estacionamiento. La vista en 3D no está disponible cuando se selecciona R (marcha atrás).
La imagen del vehículo (1) gira al pulsar el icono de rotación (2). Al pulsar el icono de rotación, aparecen la imagen del vehículo y de la zona alrededor y giran 360° para comprobar los alrededores del vehículo.
La imagen del vehículo también puede girar moviendo la imagen del vehículo.
Se pueden seleccionar las direcciones de 8 cámaras distintas tocando el icono de posición de la cámara (3).
Las líneas de trayecto previsto (4) indican el trayecto previsto al conducir el vehículo.

La distancia entre los objetos visualizados en la vista en 3D difiere de la distancia real.
Hay algunas zonas donde el sistema no muestra objetos. Para obtener información adicional, consulte
[Rotación automática 360°] (según modelo)
Cuando pulsa el botón <CAMERA> por primera vez después de colocar el interruptor de alimentación en la posición ON, la imagen del vehículo y de la zona alrededor aparecerá y girará 360° automáticamente ([Rotación automática 360°]) para verificar los alrededores del vehículo.
Para desactivar o activar la función [Rotación automática 360°], cuando se muestra la pantalla de la cámara toque
para abrir el menú [Ajustes]. A continuación, seleccione [Rotación automática 360°] para activar o desactivar la función.