-
Manual del propietario
- Clientes
- Nuevo Qashqai Nissan Connect
- Mantenimiento y servicio
- Asistencia seguro y garantía
- Accesorios y equipos
- Ofertas Especiales
- Noticias de campañas
- Promesa Cliente
- YOU+
- Infoentretenimiento en tu coche
- Aplicaciones NissanConnect: Compatibilidad de vehículos
- Proceso Emparejamiento
- Página de mantenimiento
Nissan Qashqai con e-POWER (español) 2024 Manuales del propietario
5.3.3. Pantalla de información del vehículo

Al poner el interruptor de encendido en la posición ON, la pantalla de información del vehículo puede mostrar las siguientes pantallas, según el modelo de vehículo:
1. [Inicio]
2. [En blanco]
3. [Velocidad] (según modelo)
4. [Ordenador] — [Velocidad media] (distancia y tiempo)
5. [Guía de pedal ECO]
6. [Histor. ahorro combust.]
7. [Presión neumáticos]
8. [Flujo de energía]
9. [Navegación] (según modelo)
10. [Navegación] (según modelo)
11. [Brújula] (según modelo)
12. [Audio]
13. Pantalla de teléfono (se muestra cuando hay una llamada entrante)
14. [Ayuda conducción] (según modelo)
15. ProPILOT Assist (según modelo)
16. [Señal de tráfico] (según modelo)
Avisos. Los avisos solo aparecerán en caso de que haya alguno. Para obtener más información acerca de los testigos e indicadores, consulte
.17. [Ajustes]
Para controlar qué elementos aparecen en la pantalla de información del vehículo, consulte
.
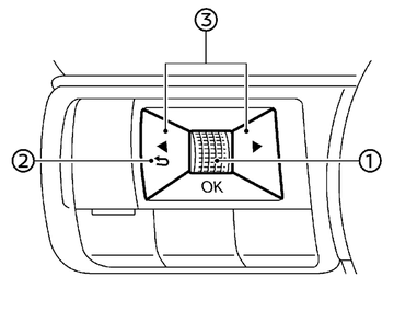
Los botones de la pantalla de información del vehículo están situados en el lado Izquierdo del volante.
- Mando de desplazamiento - navegue por los elementos y cambie o seleccione un elemento en la pantalla de información del vehículo. Este mando de desplazamiento permite navegar hacia arriba/abajo y seleccionar pulsándolo
- vuelva al menú anterior
- pase de una pantalla a la siguiente (p. ej., recorrido, ahorro de combustible)
Las imágenes que se muestran pueden variar según el modelo.