-
Manual del propietario
- Propietarios
- Proceso Emparejamiento
- Página de mantenimiento
- Nuevo Qashqai Nissan Connect
- Mantenimiento y servicio
- Asistencia seguro y garantía
- Accesorios y equipos
- Ofertas Especiales
- Noticias de campañas
- Promesa Cliente
- YOU+
- Infoentretenimiento en tu coche
- Aplicaciones NissanConnect: Compatibilidad de vehículos
Manual del propietario
Nissan X-Trail con e-POWER (español) 2024 Manuales del propietario
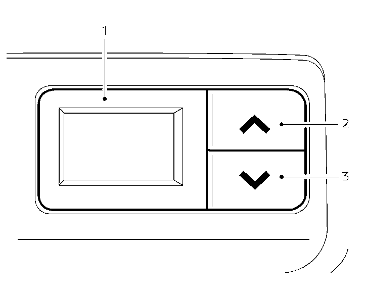
7.8.2.4. Control de temperatura trasera

- Visualización de la temperatura trasera
- “
” botón de aumento de temperatura trasera - “
” botón de disminución de temperatura trasera
Puede ajustar la temperatura para los pasajeros de los asientos traseros mediante los botones situados en la parte trasera de la caja de la consola.
Manuales del propietario