-
Manual del propietario
- Clientes
- Nuevo Qashqai Nissan Connect
- Mantenimiento y servicio
- Asistencia seguro y garantía
- Accesorios y equipos
- Ofertas Especiales
- Noticias de campañas
- Promesa Cliente
- YOU+
- Infoentretenimiento en tu coche
- Aplicaciones NissanConnect: Compatibilidad de vehículos
- Proceso Emparejamiento
- Página de mantenimiento
Manual del propietario
Nissan X-Trail (español) 2024 Manuales del propietario
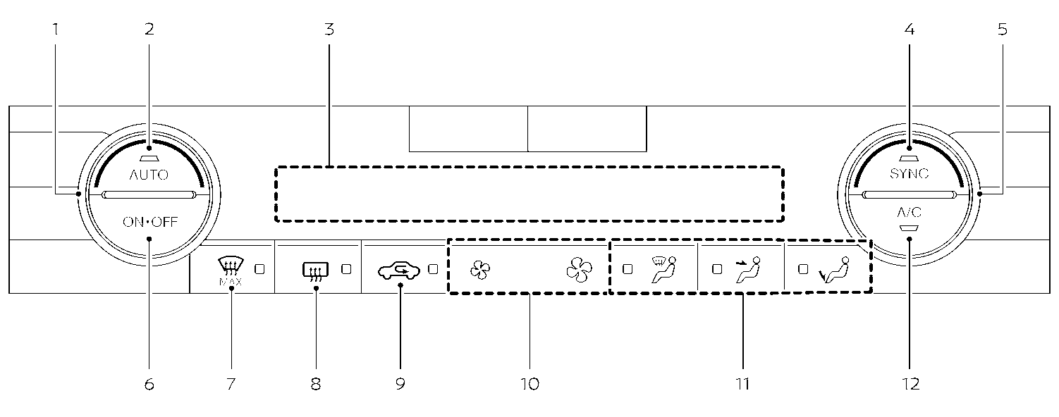
6.8.1. Acondicionador de aire automático (modelos sin sistema de control trasero)

- Mando de control de la temperatura (lado del conductor)
- Botón <AUTO> (automático)
- Pantalla de visualización
- Botón <SYNC> (sinchronizar)
- Mando de control de temperatura (lado del pasajero)
- Botón <ON・OFF> button
-
Botón (desempañamiento máximo del parabrisas) -
Botón (luneta térmica) - (Vea .)
-
Botón (recirculación de aire) -
Botones (control de la velocidad del ventilador) - Botones de control del flujo de aire
- Botón <A/C> (aire acondicionado)
La disposición de los botones puede variar dependiendo de los modelos y las especificaciones.
Manuales del propietario