-
Manual del propietario
- Clientes
- Nuevo Qashqai Nissan Connect
- Mantenimiento y servicio
- Asistencia seguro y garantía
- Accesorios y equipos
- Ofertas Especiales
- Noticias de campañas
- Promesa Cliente
- YOU+
- Infoentretenimiento en tu coche
- Aplicaciones NissanConnect: Compatibilidad de vehículos
- Proceso Emparejamiento
- Página de mantenimiento
Nissan X-Trail (español) 2024 Manuales del propietario
7.3.5.1. Reinicio del TPMS
La operación de reinicio se debe realizar en los siguientes casos para que el TPMS funcione correctamente.
cuando se ajuste la presión de los neumáticos
cuando se cambie un neumático o una rueda
cuando se permuten los neumáticos
Para reiniciar el TPMS realice los siguientes procedimientos.
Estacione el vehículo en un lugar seguro y una superficie nivelada.
Aplique el freno de estacionamiento y pulse el botón de estacionamiento para cambiar a la posición P (estacionamiento).
Ajuste la presión de los cuatro neumáticos a la presión recomendada en frío (COLD) que se muestra en la etiqueta del neumático. Use un manómetro para comprobar la presión del neumático.
Coloque el interruptor de encendido en la posición ON.

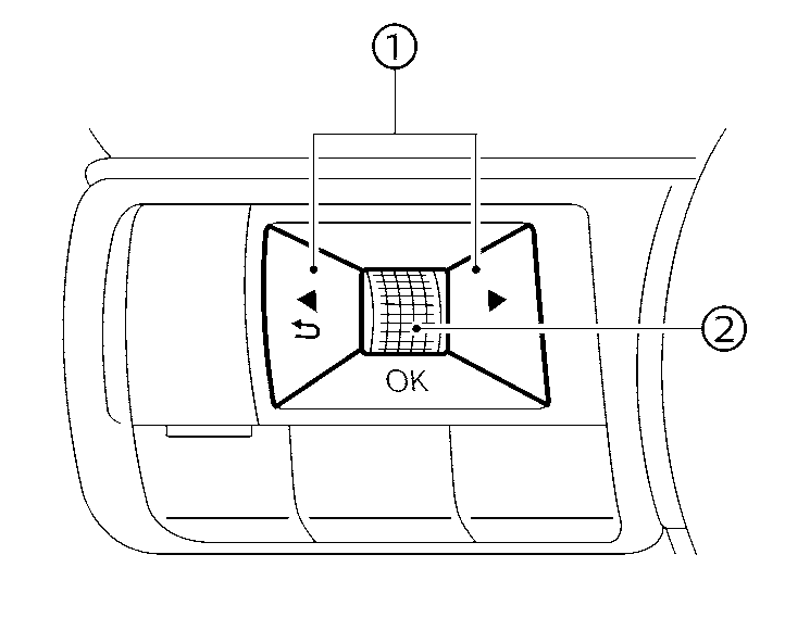
Pulse el botón
(1) hasta que aparezca [Ajustes] y después pulse la ruedecilla de desplazamiento (2).Use la ruedecilla de desplazamiento (2) hasta que se seleccione [Presión neumáticos], y pulse la ruedecilla de desplazamiento (2).
Use la ruedecilla de desplazamiento (2) hasta que se seleccione [Comenzar reinicio], y pulse la ruedecilla de desplazamiento (2).
Use la ruedecilla de desplazamiento (2) hasta que se seleccione [Sí], y pulse la ruedecilla de desplazamiento (2) para reiniciar el TPMS.
Tras el reinicio del TPMS, conduzca el vehículo durante varios minutos a una velocidad superior a 25 km/h (16 mph).
Si después de la operación de reinicio se ilumina el testigo de presión de neumáticos baja, puede indicar que el TPMS no funciona correctamente. Acuda a un concesionario NISSAN o taller cualificado para la revisión del sistema.
Para obtener información sobre el testigo de presión de neumáticos baja, consulte
.