-
Manual del propietario
- Clientes
- Nuevo Qashqai Nissan Connect
- Mantenimiento y servicio
- Asistencia seguro y garantía
- Accesorios y equipos
- Ofertas Especiales
- Noticias de campañas
- Promesa Cliente
- YOU+
- Infoentretenimiento en tu coche
- Aplicaciones NissanConnect: Compatibilidad de vehículos
- Proceso Emparejamiento
- Página de mantenimiento
Nissan X-Trail (español) 2024 Manuales del propietario
3.5.1.4. Sistema de airbag lateral de cortina suplementario
Este sistema puede reducir la fuerza de impacto en la cabeza del conductor y los pasajeros del asiento delantero y los asientos traseros más cercanos a la ventanilla en algunos choques laterales. El airbag lateral de cortina suplementario está diseñado para desplegarse en el lateral donde el vehículo haya sufrido el impacto.
El SRS está diseñado para complementar la protección contra accidentes que proporcionan los cinturones de seguridad y no está diseñado para sustituirlos . El SRS puede ayudar a salvar vidas y reducir la gravedad de las lesiones. Sin embargo, el despliegue de los airbags puede producir abrasión u otro tipo de lesiones. Los airbags no ofrecen protección a la parte inferior del cuerpo. Los cinturones de seguridad deben estar siempre correctamente abrochados y los ocupantes del vehículo deben ir sentados a una distancia adecuada del volante de dirección, el tablero de instrumentos y los acabados de las puertas. (Vea
.) Los airbag se inflan rápidamente para proteger a los ocupantes. La fuerza de despliegue de los airbags puede incrementar el riesgo de lesiones si los ocupantes están demasiado cerca o apoyados contra los módulos del airbag cuando se infla.Los airbags delanteros y laterales se desinflarán rápidamente después del choque. Los airbags lateral central delantero o laterales de cortina permanecerán inflados durante un breve periodo de tiempo.
El SRS funciona solamente cuando el interruptor de encendido está en la posición ON.
Cuando el interruptor de encendido está en posición ON, el testigo del airbag del SRS se ilumina durante 7 segundos aproximadamente y, a continuación, se apaga. Esto indica que el SRS funciona. (Vea ${1}.)



Los airbags delanteros suplementarios no se suelen inflar en una colisión lateral o trasera, en caso de vuelco, ni en colisiones frontales de poca importancia. Lleve siempre los cinturones de seguridad abrochados para reducir el riesgo o la gravedad de las lesiones que pudieran acontecer en diversos tipos de accidentes.
Los cinturones de seguridad y los airbags delanteros suplementarios son más eficaces cuando los ocupantes están erguidos y bien apoyados en el respaldo. Los airbags delanteros se despliegan con gran fuerza. Si usted o los pasajeros no están bien sujetos, están inclinados hacia delante, sentados de lado o en una posición incorrecta, corren el riesgo de sufrir lesiones o incluso morir en caso de accidente. Se pueden sufrir lesiones graves o incluso mortales si usted o los pasajeros están apoyados sobre el airbag delantero suplementario cuando éste se despliega. Siéntese siempre bien apoyado en el respaldo y tan lejos como sea posible del volante o el tablero de instrumentos. Utilice siempre los cinturones de seguridad.
Mantenga las manos en la parte exterior del volante de dirección. Situarlas en la parte interior puede aumentar el riesgo de lesiones si se despliega el airbag delantero suplementario.







Nunca permita que los niños vayan sin sujeción ni que saquen las manos o la cabeza por la ventanilla. No intente transportarlos en brazos o en el regazo. En las ilustraciones se muestran algunos ejemplos de posiciones peligrosas.
Los niños pueden sufrir lesiones graves o mortales si no están bien sujetos cuando se despliegan los airbags.
No monte nunca un sistema de retención infantil orientado hacia atrás en al asiento del pasajero delantero sin asegurarse antes de que el airbag del pasajero delantero está desactivado. Si se despliega un airbag delantero suplementario, el niño podría sufrir lesiones graves e incluso mortales. (Vea
.)





Los airbags laterales suplementarios, los airbags laterales centrales delanteros suplementarios y los airbags laterales de cortina suplementarios no se inflarán en caso de colisión frontal, trasera, en caso de vuelco, ni en colisiones laterales de poca importancia. Lleve siempre los cinturones de seguridad abrochados para reducir el riesgo o la gravedad de las lesiones en caso de accidente.
Los cinturones de seguridad, los airbags laterales central delantero suplementarios, los airbags laterales suplementarios y los airbags laterales de cortina suplementarios son más eficaces cuando los ocupantes están apoyados en el respaldo y erguidos en el asiento. Los airbags laterales central delanteros suplementarios, los airbags laterales suplementarios y los airbags laterales de cortina suplementarios se inflan con gran fuerza. Si usted o los pasajeros no están bien sujetos, están inclinados hacia delante, sentados de lado o en una posición incorrecta, corren el riesgo de sufrir lesiones o incluso morir en caso de accidente.
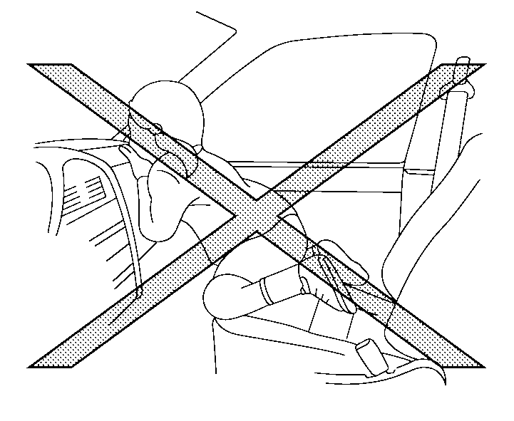
No permita que nadie ponga las manos, las piernas o la cara cerca del airbag lateral central delantero suplementario, los airbag laterales suplementarios, los airbags laterales de cortina suplementarios situados en el centro del respaldo del asiento del conductor, los laterales del respaldo de los asientos delanteros o cerca de los carriles laterales del techo. No permita que los pasajeros del asiento delantero o de los asientos traseros laterales saquen la mano por la ventanilla o se apoyen en las puertas. En las ilustraciones se muestran algunos ejemplos de posiciones peligrosas.
Los pasajeros sentados en los asientos traseros no deben agarrarse al respaldo de los asientos delanteros. Si los airbags laterales central delantero suplementarios, los airbags laterales suplementarios y los airbags laterales de cortina suplementarios se inflan, podría resultar gravemente herido. Sea especialmente cuidadoso con los niños y no permita que vayan sin sujeción.
No utilice fundas para respaldo no originales en los asientos delanteros. Pueden interferir con el inflado de los airbags laterales central delanteros suplementarios y los airbags laterales suplementarios.