-
Manual del propietario
- Clientes
- Nuevo Qashqai Nissan Connect
- Mantenimiento y servicio
- Asistencia seguro y garantía
- Accesorios y equipos
- Ofertas Especiales
- Noticias de campañas
- Promesa Cliente
- YOU+
- Infoentretenimiento en tu coche
- Aplicaciones NissanConnect: Compatibilidad de vehículos
- Proceso Emparejamiento
- Página de mantenimiento
Nissan X-Trail (español) 2024 Manuales del propietario
4.7.1.3. Posición AUTO
Cuando el interruptor de encendido está en la posición ON y el conmutador de faros está en la posición <AUTO> , los faros, las luces de posición delanteras, las luces del tablero de instrumentos, las luces traseras y las luces de matrícula se encienden automáticamente dependiendo de la claridad del entorno.
Los faros se encenderán automáticamente al anochecer o cuando llueva (con el limpiaparabrisas funcionando de forma continua).
Cuando el interruptor de encendido se pone en la posición “OFF”, las luces se apagan automáticamente.


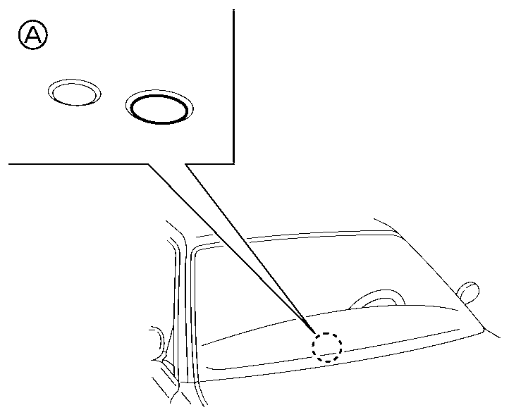
No coloque ningún objeto en la parte superior del sensor (A). El sensor detecta el nivel de claridad y controla el funcionamiento de los faros automáticos inteligentes. Si el sensor está cubierto, funciona como si estuviese oscuro y las luces se encienden.
Tenga en cuenta que la disposición de la ilustración es para modelos de conducción izquierda. En los modelos de conducción derecha, el sensor está situado en el lado opuesto.