-
Manual del propietario
- Clientes
- Nuevo Qashqai Nissan Connect
- Mantenimiento y servicio
- Asistencia seguro y garantía
- Accesorios y equipos
- Ofertas Especiales
- Noticias de campañas
- Promesa Cliente
- YOU+
- Infoentretenimiento en tu coche
- Aplicaciones NissanConnect: Compatibilidad de vehículos
- Proceso Emparejamiento
- Página de mantenimiento
Manual del propietario
Nissan X-Trail (español) 2024 Manuales del propietario
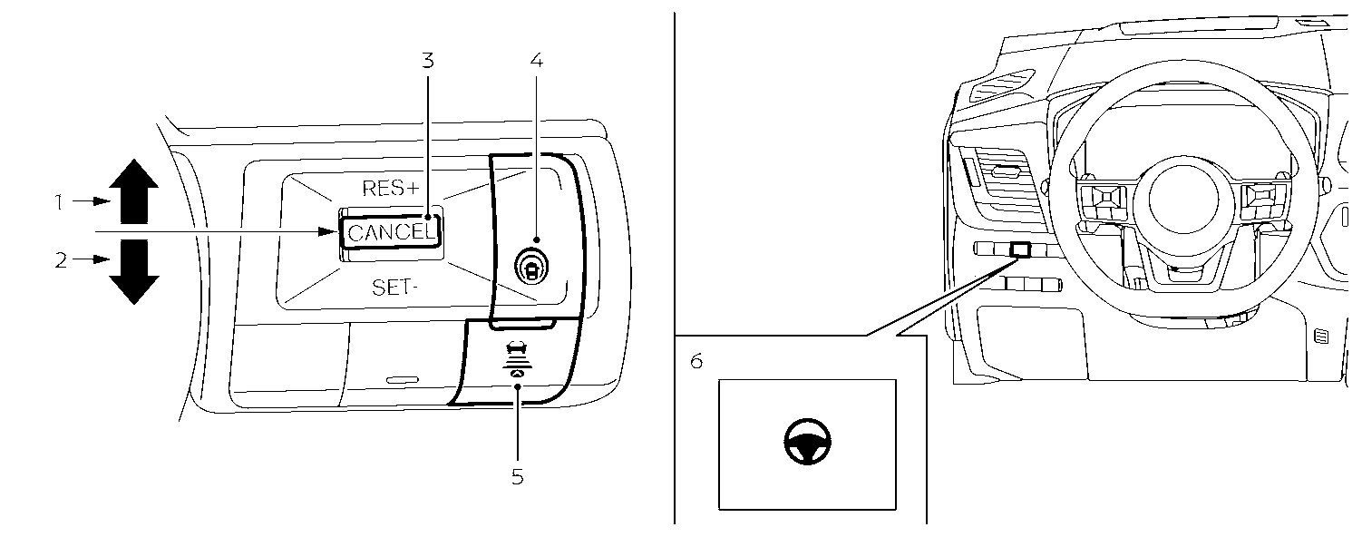
7.20.1.2. Interruptores de ProPILOT Assist

Accionamiento de <RES+> :
Reanuda la velocidad programada del vehículo o aumenta la velocidad gradualmente
Accionamiento de <SET-> :
Establece la velocidad de crucero deseada o reduce la velocidad gradualmente
<CANCEL> :
Desactiva el sistema ProPILOT Assist sin borrar la velocidad programada del vehículo
Interruptor de ProPILOT Assist:
Activa o desactiva el sistema ProPILOT Assist
Interruptor de distancia:
[Lejos]
[Medio]
[Cerca]
Interruptor de asistencia a la dirección:
Activa o desactiva la función de asistencia a la dirección
Manuales del propietario