-
Manual del propietario
- Clientes
- Nuevo Qashqai Nissan Connect
- Mantenimiento y servicio
- Asistencia seguro y garantía
- Accesorios y equipos
- Ofertas Especiales
- Noticias de campañas
- Promesa Cliente
- YOU+
- Infoentretenimiento en tu coche
- Aplicaciones NissanConnect: Compatibilidad de vehículos
- Proceso Emparejamiento
- Página de mantenimiento
Manual del propietario
Nissan X-Trail (español) 2024 Manuales del propietario
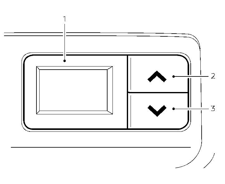
6.8.3.3. Control de temperatura trasera

- Visualización de la temperatura trasera
Botón de aumento de temperatura trasera
Botón de disminución de temperatura trasera
Puede ajustar la temperatura para los pasajeros de los asientos traseros mediante los botones situados en la parte trasera de la caja de la consola.
Manuales del propietario