-
Manual del propietario
- Clientes
- Nuevo Qashqai Nissan Connect
- Mantenimiento y servicio
- Asistencia seguro y garantía
- Accesorios y equipos
- Ofertas Especiales
- Noticias de campañas
- Promesa Cliente
- YOU+
- Infoentretenimiento en tu coche
- Aplicaciones NissanConnect: Compatibilidad de vehículos
- Proceso Emparejamiento
- Página de mantenimiento
Manual del propietario
Nissan X-Trail (español) 2024 Manuales del propietario
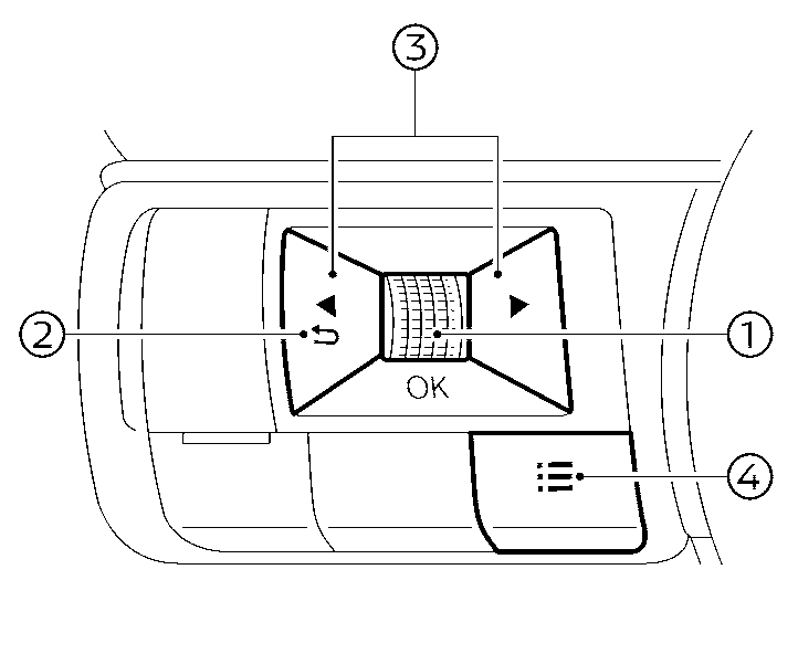
4.5.2. Cómo usar la pantalla de información del vehículo

Los pantalla de información del vehículo pueden cambiarse con la ruedecilla de desplazamiento (1),
(2), y
(3) situado en el volante de dirección.
- Mando de desplazamiento - navegue por los elementos y cambie o seleccione un elemento en la pantalla de información del vehículo
- este mando de desplazamiento permite navegar hacia arriba/abajo y seleccionar pulsándolo
- vuelva al menú anterior
- pase de una pantalla a la siguiente (p. ej., recorrido, ahorro de combustible)
- muestra la pantalla [Menú acceso directo]
Manuales del propietario