-
Manual del propietario
- Clientes
- Nuevo Qashqai Nissan Connect
- Mantenimiento y servicio
- Asistencia seguro y garantía
- Accesorios y equipos
- Ofertas Especiales
- Noticias de campañas
- Promesa Cliente
- YOU+
- Infoentretenimiento en tu coche
- Aplicaciones NissanConnect: Compatibilidad de vehículos
- Proceso Emparejamiento
- Página de mantenimiento
Manual del propietario
Nissan ARIYA (español) 2024 Manuales del propietario
8.9.1. Aire condicionat automàtic
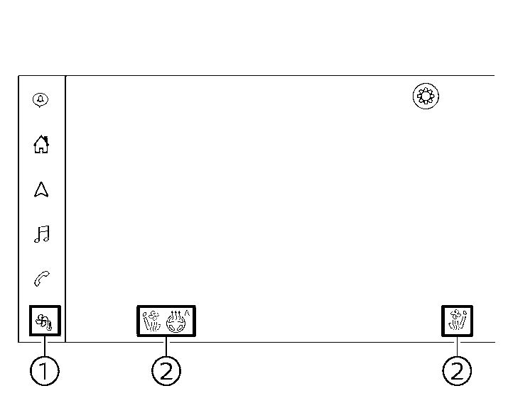
Per controlar l'aire condicionat automàtic, podeu utilitzar els botons del quadre de comandament o bé els botons de la pantalla del climatitzador.

Per mostrar la pantalla del climatitzador, toqueu el botó "
" (1) de la pantalla tàctil.
També podeu controlar determinats paràmetres de l'aire condicionat tocant el botó "
" o "
" (2) (si està instal·lat) mentre visualitzeu una pantalla que no sigui la del climatitzador.


- Botó de control de la temperatura (costat del conductor)
-
Botó (antiglaç davanter) -
Botó (antibaf del vidre posterior) - (Consulteu .
- Botons de control de la velocitat del ventilador
- Botó d'activació/desactivació
- Botó <AUTO>/[AUTO] (automàtic)
- Botó de control de l'entrada d'aire
- Botó de control de la temperatura (costat del passatger)
- Botó del volant calefactat (si està instal·lat)
- (Consulteu .
- Botó de control del seient davanter (si està instal·lat)
- (Consulteu o .
- Botó [DRIVER ZONE]
- Botó de control del flux d'aire
- Botó del parabrisa calefactat (si està instal·lat)
- (Consulteu .
- Botó [REAR] (si està instal·lat)
- (Consulteu .
- Botó [A/C] (aire condicionat)
- Botó [FAN ONLY]
- Botó [SYNC] (sincronitzar)
La disposició del botó i de la pantalla de la il·lustració corresponen al model amb volant a l'esquerra (LHD). Per al model amb volant a la dreta (RHD), la disposició del botó i de la pantalla seran oposades.
Manuales del propietario