-
Manual del propietario
- Clientes
- Nuevo Qashqai Nissan Connect
- Mantenimiento y servicio
- Asistencia seguro y garantía
- Accesorios y equipos
- Ofertas Especiales
- Noticias de campañas
- Promesa Cliente
- YOU+
- Infoentretenimiento en tu coche
- Aplicaciones NissanConnect: Compatibilidad de vehículos
- Proceso Emparejamiento
- Página de mantenimiento
Nissan ARIYA (español) 2024 Manuales del propietario
5.5.1.4. Sistema de coixins de seguretat de cortina suplementaris contra col·lisió lateral
Aquest sistema pot ajudar a amortir la força de l'impacte al cap del conductor i els passatgers dels seients davanters i posteriors exteriors en determinades col·lisions laterals. El coixí de seguretat suplementari d'impacte lateral de cortina està dissenyat per inflar-se a la part lateral, on el vehicle rep l'impacte.
El sistema SRS està dissenyat per complementar la protecció en cas d'accident que ofereixen els cinturons de seguretat, però no per substituir-los . El sistema SRS pot ajudar a salvar vides i reduir les lesions greus. No obstant això, si els coixins de seguretat s'inflen, poden produir abrasions o altres lesions. Els coixins de seguretat no protegeixen la part inferior del cos. Els cinturons de seguretat s'han de portar sempre ben cordats i els ocupants s'han d'asseure a una distància adient del volant, el quadre de comandament i els embellidors de les portes. (Consulteu
. Els coixins de seguretat s'inflen ràpidament per ajudar a protegir els ocupants. La força dels coixins de seguretat en inflar-se pot fer augmentar el risc de lesions si els ocupants estan massa a prop o a tocar dels mòduls de coixí de seguretat quan s'inflen.El coixí de seguretat davanter i els coixins de seguretat contra col·lisió lateral es desinflaran ràpidament després de la col·lisió. El coixí de seguretat davanter central contra col·lisió lateral i els coixins de seguretat contra col·lisió lateral de la cortina romandran inflats durant un breu temps.
El sistema SRS només funciona si l'interruptor d'encesa es troba a la posició ON.
Quan l'interruptor d'encesa està a la posició ON, el testimoni lluminós del coixí de seguretat del sistema SRS s'il·lumina durant uns 7 segons i després s'apaga. Això indica que el sistema SRS està operatiu. (Consulteu ${1}.


Els coixins de seguretat suplementaris frontals no solen inflar-se en cas d'impacte lateral, impacte posterior, bolcada o col·lisió frontal de menor gravetat. Feu servir sempre els cinturons de seguretat per tal de reduir el risc o la gravetat de les lesions en diversos tipus d'accident.
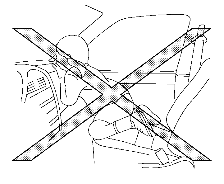
Els cinturons de seguretat i els coixins de seguretat suplementaris d'impacte frontal són més eficaços quan el passatger seu ben enrere al seient i amb l'esquena recta. Els coixins de seguretat d'impacte frontal s'inflen amb gran força. Si els passatgers del cotxe no porten posat el cinturó de seguretat, s'inclinen cap endavant, s'asseuen de costat o estan fora de posició de qualsevol manera, corren un risc més gran de patir lesions o de morir en un accident. El coixí de seguretat suplementari contra col·lisió frontal també us podria provocar lesions greus o mortals si us trobeu directament contra aquest en inflar-se. Cal que seieu sempre recolzant-vos en el respatller i tan separats com sigui possible del volant o el quadre de comandament. Feu servir sempre els cinturons de seguretat.
Mantingueu les mans a la part exterior del volant. Col·locar-les a la part interior del volant podria fer augmentar el risc de patir lesions si el coixí de seguretat suplementari frontal s'infla.






No deixeu mai que els nens viatgin sense cinturó de seguretat ni que treguin les mans o la cara per la finestreta. No intenteu subjectar-los a la falda ni als braços. A les il·lustracions es mostren exemples de posicions perilloses.
Els nens podrien resultar greument ferits o morir en inflar-se els coixins de seguretat si no estan ben subjectes.
No instal·leu mai un sistema de retenció infantil orientat cap enrere al seient del passatger davanter sense haver-ne desactivat abans el coixí de seguretat suplementari. Si un coixí de seguretat suplementari contra col·lisió frontal s'infla, pot lesionar greument el vostre fill o fins i tot matar-lo. (Consulteu
.




Els coixins de seguretat davanters centrals suplementaris contra col·lisió lateral, els coixins de seguretat contra col·lisió lateral i els coixins de seguretat contra col·lisió lateral de cortina no s'inflaran en cas d'impacte frontal, impacte posterior, bolcada o col·lisió lateral de menor gravetat. Feu servir sempre els cinturons de seguretat per tal de reduir el risc o la gravetat de les lesions en cas d'accident.
Els cinturons de seguretat i el coixí de seguretat suplementari davanter central contra col·lisió lateral, els coixins de seguretat suplementaris contra col·lisió lateral i els coixins de seguretat suplementaris contra col·lisió lateral de cortina són més eficaços quan el passatger seu ben enrere al seient i amb l'esquena recta. El coixí de seguretat suplementari davanter central contra col·lisió lateral, els coixins de seguretat suplementaris contra col·lisió lateral i els coixins de seguretat suplementaris contra col·lisió lateral de cortina s'inflen amb molta força. Si els passatgers del cotxe no porten posat el cinturó de seguretat, s'inclinen cap endavant, s'asseuen de costat o estan fora de posició de qualsevol manera, corren un risc més gran de patir lesions o de morir en un accident.
No deixeu que ningú col·loqui les mans, les cames o la cara a prop del coixí de seguretat davanter central contra col·lisió lateral, els coixins de seguretat contra col·lisió lateral i els coixins de seguretat contra col·lisió lateral de cortina que es troben al centre del respatller del seient del conductor, als laterals del respatller dels seients davanters o a prop dels rails laterals del sostre. No deixeu que els passatgers asseguts als seients davanters o als seients posteriors exteriors treguin les mans per les finestres ni es recolzin a les portes. A les il·lustracions es mostren exemples de posicions perilloses.
Si us asseieu als seients posteriors, no us agafeu al respatller dels seients davanters. Si el coixí de seguretat suplementari davanter central contra col·lisió lateral, els coixins de seguretat suplementaris contra col·lisió lateral i els coixins de seguretat suplementaris contra col·lisió lateral de cortina s'inflen, podríeu patir lesions greus. Tingueu molta cura amb els nens, que han d'anar sempre ben subjectes.
No feu servir fundes als respatllers dels seients davanters, ja que poden interferir amb l'inflament del coixí de seguretat suplementari davanter central contra col·lisió lateral i els coixins de seguretat suplementaris contra col·lisió lateral.