-
Manual del propietario
- Clientes
- Nuevo Qashqai Nissan Connect
- Mantenimiento y servicio
- Asistencia seguro y garantía
- Accesorios y equipos
- Ofertas Especiales
- Noticias de campañas
- Promesa Cliente
- YOU+
- Infoentretenimiento en tu coche
- Aplicaciones NissanConnect: Compatibilidad de vehículos
- Proceso Emparejamiento
- Página de mantenimiento
Nissan ARIYA (español) 2024 Manuales del propietario
8.6.1.1. Vistes disponibles
Les línies de guia de distància i les línies de guia d'amplada del vehicle només s'han d'utilitzar com a referència quan el vehicle es troba en una superfície pavimentada i plana. La distància aparent visualitzada al monitor pot ser diferent de la distància real entre el vehicle i els objectes mostrats.
Utilitzeu les línies mostrades i la vista aèria com a referència. Les línies i la vista aèria es veuen molt afectades pel nombre d'ocupants, la posició del vehicle, l'estat de la carretera i el nivell de la carretera.
Si els pneumàtics es substitueixen per pneumàtics de diferents mides, és possible que les línies de rumb predictiu i les vistes aèries no es mostrin correctament.
Quan es condueix el vehicle per una pujada, els objectes que es veuen al monitor són més lluny del que semblen. Quan es condueix el vehicle per una baixada, els objectes que es veuen al monitor són més a prop del que semblen.
Els objectes de la vista posterior apareixeran de manera visualment oposada en comparació amb el que mostrin els retrovisors exteriors i interior.
Utilitzeu els miralls o mireu realment per determinar correctament les distàncies amb altres objectes.
La distància entre els objectes visualitzats a la vista posterior és diferent de la real perquè s'utilitza una lent gran angular.
En una carretera coberta de neu o relliscosa, pot haver-hi una diferència entre la línia de rumb predictiu i la línia de rumb real.
L'amplada del vehicle i les línies de rumb predictiu són més amples que l'amplada i el rumb reals.
Vistes frontal i posterior


Les línies de guia que indiquen l'amplada aproximada del vehicle i les distàncies amb objectes amb referència a la silueta del vehicle (A) es mostren al monitor.
Línies de guia de l'amplada del vehicle (1):
Indiquen l'amplada del vehicle.
Línies de rumb predictiu (2):
Indiquen el rumb predictiu en conduir el vehicle. Les línies de rumb predictiu es mouran en funció de com de girat estigui el volant.
Línies de guia de distància:
Indiquen les distàncies des de la silueta del vehicle.
Línia vermella (3): aproximadament 0,5 m (1,5 ft)
Línia blava (4): aproximadament 1 m (3 ft)
Línia blava (5): aproximadament 2 m (7 ft)
Línia blava (6): aproximadament 3 m (10 ft)
La vista frontal no es mostrarà quan la velocitat del vehicle sigui superior a 10 km/h (6 mph).
Vista aèria

La vista aèria mostra la vista zenital del vehicle, cosa que ajuda a confirmar la posició del vehicle i el rumb predictiu cap a una plaça d'aparcament.
La icona del vehicle (1) en mostra la posició. Tingueu en compte que la distància existent entre els objectes vistos amb la vista aèria és diferent de la distància real.
Les línies de rumb predictiu (2) indiquen el rumb previst en manejar el vehicle.
Els objectes de la vista aèria apareixeran més lluny que la distància real.
Els objectes alts, com una vorera o un vehicle, podrien estar desalineats o no aparèixer a la unió de les vistes.
Els objectes que estan per sobre de la càmera no es poden visualitzar.
La vista aèria podria estar desalineada si s'altera la posició de la càmera.
Una línia a terra podria estar desalineada i no es veuria recta a la unió de les vistes. La desalineació augmentarà a mesura que la línia s'allunyi del vehicle.
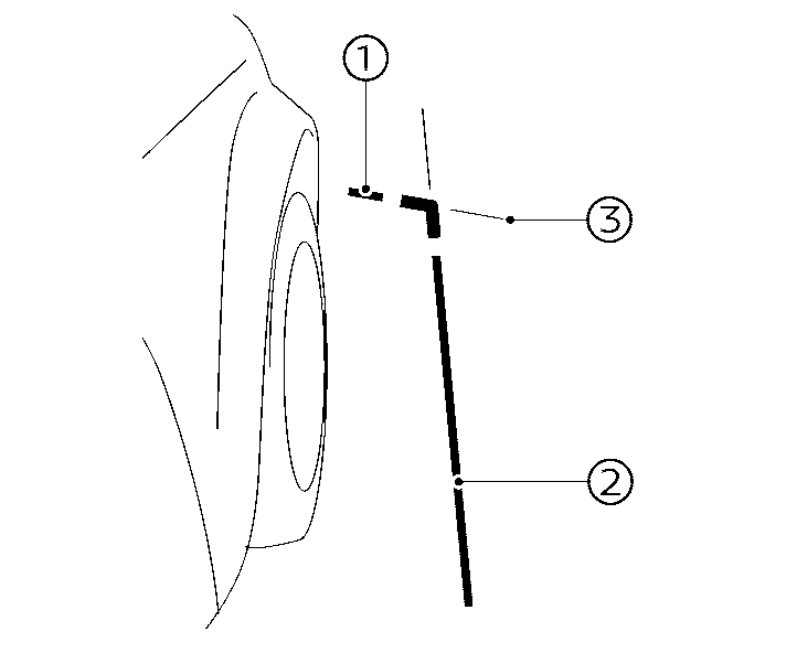
Vista davantera lateral

La disposició de la pantalla de la il·lustració correspon al model amb volant a l'esquerra (LHD). Per al model amb volant a la dreta (RHD), la disposició de la pantalla serà oposada.
Línies de guia:
Al monitor s'hi mostren línies de guia que indiquen l'amplada aproximada i l'extrem frontal del vehicle.
La línia de la part frontal (1) assenyala la part frontal del vehicle.
La línia del lateral (2) assenyala l'amplada del vehicle, incloent-hi els retrovisors exteriors.
Les extensions (3) de les línies frontal (1) i lateral (2) es mostren amb una línia blava.
L'intermitent pot semblar la línia del lateral del vehicle. No es tracta de cap avaria.
Vistes frontal i posterior perifèriques


Mentre que les vistes frontal i posterior mostren una vista normal a les pantalles dividides, les vistes frontal i posterior perifèriques mostren una zona més ampla en tota la pantalla i permeten comprovar els revolts tancats dels costats dret i esquerre.
Línies de guia de l'amplada del vehicle (1):
Indiquen l'amplada aproximada del vehicle.
Línies de rumb predictiu (2):
Indiquen el rumb predictiu en conduir el vehicle. Les línies de rumb predictiu es mouran en funció de com de girat estigui el volant.
Línies de guia de distància:
Indiquen les distàncies des de la silueta del vehicle.
Línia vermella (3): aprox. 0,5 m (1,5 ft)
Línia blava (4): aprox. 1 m (3 ft)
Línia blava (5): aprox. 2 m (7 ft)
Línia blava (6): aprox. 3 m (10 ft)
La vista frontal perifèrica no es mostrarà quan la velocitat del vehicle sigui superior a aproximadament 10 km/h (6 mph).